VARIANT SL14E
- Doprava ZDARMA

- Kompletní specifikace
- Ke stažení
VARIANT SL14E56 803 Kč/ ks46 945 Kč bez DPH
Jmenovitý výkon kotle 13kW
Třída kotle 4, splňuje ekodesign
Hmotnost kotle 238 kg
Novinky v konstrukci kotlů SL14E
Vnitřní plášť kotle je vyráběn z plechu tloušťky 5mm. Nová technologie výroby lamel umožnila odstranění výztuh v prostoru výměníku. Toto opatření nejenom usnadňuje čištění kotle ale hlavně eliminuje možné nafoknutí lamel v případě uhoření výztuh.
Rady a doporučení k provozu kotlů
Při prvních několika zátopech se na stěnách nového kotle vysráží vodní pára obsažená ve spalinách. Voda potom stéká do prostoru popelníku a do prostoru pod lamelami (někdy může být této vody tolik, že to vypadá jako by kotel tekl). Proto je dobré při prvních zátopech roztopit kotel na telotu cca 80°C, aby došlo k vysušení celého kotle. Po několika zátopech by se rosení stěn kotle mělo úplně vytratit.
V jarních a podzimních měsících a při nižším tahu komína doporučujeme vytáhnout z kotle vířiče umístěné v prostoru výměníku. Pokud toto opatření nestačí k dosažení požadovaného výkonu je možno vyzkoušet provoz kotle bez žárobetonových desek umístěných ve spalovací komoře kotle.
Popis kotle
Kotel je svařen z ocelových plechů. Vnitřní prostor je rozdělen vodní přepážkou na násypnou šachtu, spalovací komoru a výměník, kterým proudí spaliny ke kouřovému hrdlu.Pod spalovací komorou a násypnou šachtou je dvoudílný rošt,ovládaný z boční strany kotle pákou.
Regulace sekundárního vzduchu přiváděného do spalovací komory zvyšuje účinnost kotle. Primární vzduch je přiváděn pod rošt regulovatelnou klapkou v popelníkových dvířkách. Regulace se provádí ručně nebo automatickým regulátorem, který je dodáván jako zvláštní příslušenství současně s kotlem. Vstup a výstup topné vody je opatřen přírubami DN 65.
Kouřovod je v ose kotle na zadní straně. Zatápěcí klapka se ovládá z horní části kotle.
Základní rozměry kotle včetně připojení kotle k otopné soustavě je stejné jako u starších kotlů SLOKOV stejné velikosti.
Použití kotle, palivo
Ocelový teplovodní kotel VARIANT SL je zdrojem tepla vhodný pro vytápění bytů, rodinných domků, provozoven a obdobných objektů s tepelnou ztrátou kolem 14 kW. Otopný systém může být s otevřenou nebo tlakovou expanzní nádobou, samotížným nebo nuceným oběhem otopné vody, s maximálním přetlakem 200 kPa.
Předepsané palivo pro kotle VARIANT SL je hnědé uhlí, zrnění 20-40 mm, ořech 1, o minimální výhřevnosti 19,1 MJ/kg.
Dobrá funkce kotle je podmíněna kromě odborné instalace také potřebným komínovým tahem a správnou obsluhou.
Hlavní rozměry kotle

Legenda:
1 – Klapka sekundárního vzduchu
2 – Sazová dvířka
3 – Roštovací páka
4 – Popelníková dvířka
5 – Trubky k DBV1- není součástí kotle
6 – Termomanometr –teploměr s tlakoměrem
7 – DBV1 – dvoucestný dochlazovací bezpečnostní ventil – zvláštní příslušenství
8 – TRV – tepelný regulátor výkonu – zvláštní příslušenství kotle
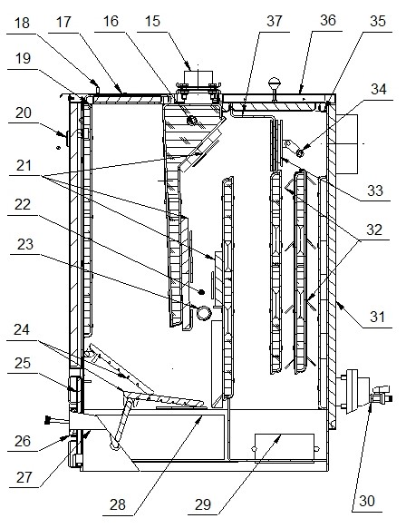
Řez kotle

15 – Proti příruba
16 – Nátrubek bezpečnostního ventilu
17 – Přikládací dvířka
18 – Klapka terciálního vzduchu
19 – Těsnící šňůra přikl. dvířek
20 – Termomanometr
21 – Žárobetonové cihly
22 – Spalovací komora
23 – Sekundární vzduch
24 – Rošt
25 – Těsnící šňůra pop. dvířek
26 – Klapka spalovacího vzduchu
27 – Boční kryt
28 – Popelník
29 – Sazová dvířka
30 – Napouštěcí kohout
31 – Zadní kryt
32 – Vířiče
33 – Zatápěcí klapka
34 – Táhlo zatápěcí klapky
35 – Těsnící šňůra víka výměníku
36 – Víko výměníku
37 – Přepážka spalin


